
This Cycleserv manual shows you how to work on your bike. With step-by-step instructions, clear pictures, exploded view illustrations, COLOR wiring diagrams, and schematics, you will have the information you need to get your project on the road and keep it there. You'll find both imperial (US) and metric specifications. This book covers 1973-1977 Suzuki GT185 motorcycle models, including the Adventurer 184 cc 2 stroke. The manual was published in February of 1974, so it should work for 1973-1977 models since they're basically the same. It's more specific than the Haynes manual, since it covers just the one model and the Haynes book covers two. Buy now to own this hard-to-find manual.
                        
                    
                            
                            Suzuki
                        
                        
                            
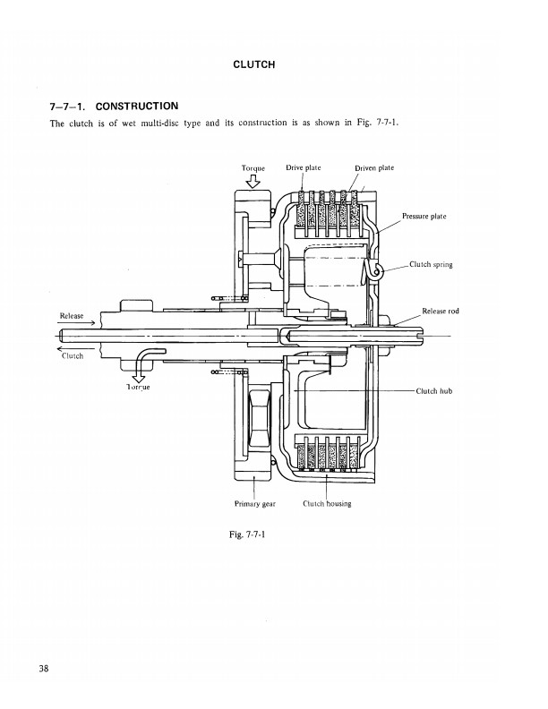
                            "Servicing Suzuki Motor Cycles GT185"
                        
                        
                            
                            61
                        
                                            
                            
                            Sold Separately
                        
                        
                            
                            11.00 x 8.25 x 0.25 inches
                        
                You can be the first one to write a review.
                                     
                         
                     
                     
                     
                     
                     
                     
                     
                     
                    