
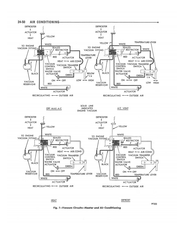
Written by Chrysler, this is a reprint of the manual that mechanics at the dealership would use to work on your vehicle. You will find step-by-step illustrated instructions for repairing your vehicle with pictures and diagrams on nearly every page. The manual includes Body and Chassis. In the Chassis portion, you will find out how to work on front suspension, rear axle, brakes, clutch, cooling, electrical, engine, exhaust, fuel, propeller shaft, springs, steering, transmission, wheels, and heating and air conditioning. In the Body portion, you will learn to work on sheet metal, interior trim, side glass, stationary glass, sunroof, sealing and alignment. Buy now to own the most complete repair manual available for your vehicle.
Plymouth
"1973 Plymouth, Chrysler, & Imperial Chassis Service Manual" & "1973 Plymouth, Chrysler, & Imperial Chassis & Body Service Manual"
1316
Included
This item is original.
11.00 x 8.50 x 2.50 inches
810703450 REPRINT
(1)
Average rating 8 out of 10
( based on 1
review )

1973Plymounth and Chrysler
It is good sourse of information, however it comes up short on the elictronic componits like relays and switchs