
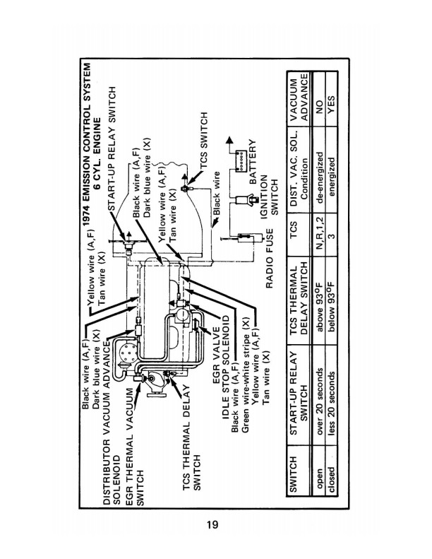
Find out how to diagnose your emissions system with this hard-to-find manual. This is a reprint of the manual that a Pontiac dealer mechanic used to work on cars. You will learn about heated air and cold air induction, the transmission controlled spark system, air injector reaction system, idle stop solenoid, EGR and TCS, positive crankcase ventilation system, and the evaporative emission control system. There are sections on system descriptions, schematics, systems diagnosis, test procedures, vacuum diagrams, and troubleshooting roadmaps to guide you. New condition. Buy now for this essential shop manual from Pontiac.
Pontiac
Pontiac's 1974 Exhaust Emissions
59
Included
This item is a reproduction
11.00 x 8.50 x 0.22 inches
You can be the first one to write a review.