
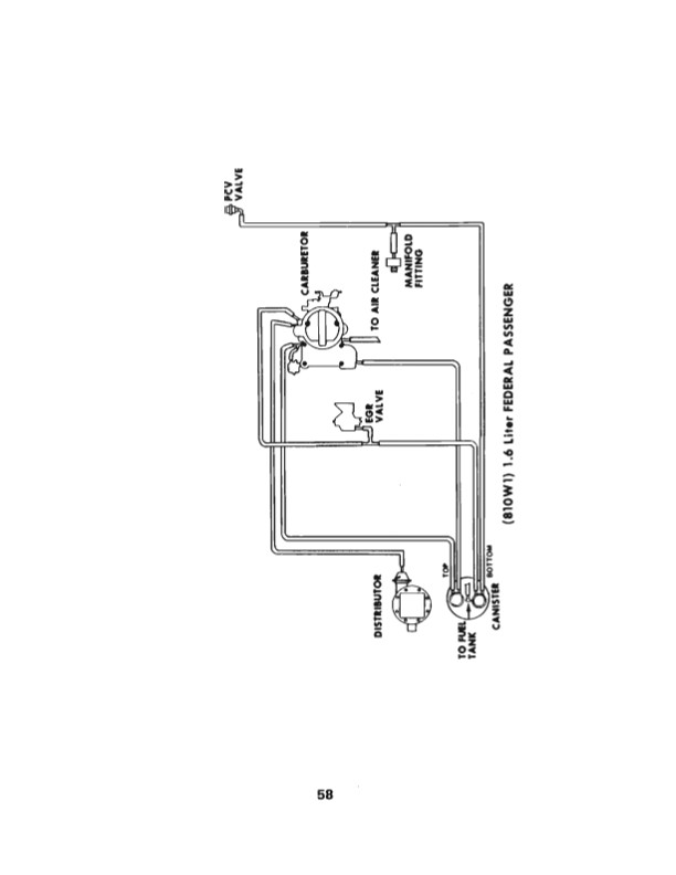
Find out how to diagnose your emissions system with this hard-to-find manual. This is a reprint of the manual that a Chevy dealer mechanic used to work on cars and trucks. You will learn about functional testing, closed loop emission control, truck diesel engine, air injection reactor, exhaust gas recirculation, early fuel evaporation, evaporative emission control, positive crank case ventilation, thermostatic air cleaner, throttle control solenoid, electrically heated choke, controlled vacuum spark advance, high energy ignition, and oxidizing catalytic converter. There are sections on system descriptions, schematics, systems diagnosis, test procedures, vacuum diagrams, and troubleshooting roadmaps to guide you. You'll see charts for converter catalyst identification, car temperature switches, electrical components, thermal vacuum switches, and emission label usages. Pages 58-94 are emissions vacuum hose routing diagrams. New condition. Buy now for this essential shop manual from Chevy.
Chevrolet
1978 Chevrolet Emission Control Systems
96
Included
This item is a reproduction
11.00 x 8.50 x 0.42 inches
CT97878QQ11Y1EG5-R
You can be the first one to write a review.